Une Petite histoire de l’écriture: du « burin » au bic….

Comment répondre à la fonction d'usage : déposer de l'encre sur un support (en tenant l'objet à la main)

Pour assurer le besoin de communiquer ?


Objectifs :

Frise chronologique


Avant la plume et l'encre...












Lignée plume


Écriture à la plume d'oiseau


Apparition de la plume en métal


Le stylographe à réservoir

Innovation de L. Waterman


Apparition des cartouches




Des innovations

(encre gel.…)

Lignée stylo bille








Les premiers stylos bille


Le stylo bille des frères Biro

Le Stylo bic

Le stylo « bic » change l'écriture


Lignée Feutre

Écriture au pinceau. ( chine, japon..)










Le feutre à pointe acrylique


Lignée













Stylo « numérique »

écran tactile


Vers -4000




Vers 1800


Vers 1860


1888


Vers 1930


Vers 1960


Aprés >


Quelques liens.


.

I) Avant la plume.

Les débuts de l’écriture marquent les débuts de l’histoire. Cela se passait vers 6000 av J.C avec des gravures sur pierre. Puis des moyens plus rapides apparurent….

vidéo : les-premieres-ecritures (Lumni)

Extrait de :History-of-pen

En Mésopotamie , un bâton permettait de graver des idéogrammes sur des tablettes d’argile. (-4000 av JC)

Visualiser la vidéo : invention de l'écriture...

(Extrait de C’est pas sorcier L’écriture de A à Z )


En Asie, les première trace d’écriture datent de 1500 av JC

il s’agissait de gravures sur des support solide


A Rome on utilisait des styles pour écrire sur des tablletes recouvertes de cire (1300 av JC)







bâton taillé bois


tablette d’argile



écriture chinoise gravé sur un os


style et tablette (reproduction)


Et l’encre ?


En Égypte on utilisait des calames pour écrire à l’encre sur des supports en papyrus. Dés 3000 av JC)


On ne sait pas trop quand l’encre est apparue.

La première utilisation connue de l’encre pour l’écriture remonte à 2500 avant J.-C., lorsque les Égyptiens et les Chinois ont commencé à utiliser des encres faites de fines particules de carbone et de gommes, de savons ou de colles. Elle a considérablement évoluée dans sa composition. L’écriture se faisait avec des calames sur des supports divers...


manuel chinois de fabrication d’encre vers 1400


calames

extrait du Papyrus Prisse (BNF)

- Pour en savoir plus . Naissance de l’écriture : dossier bnf



II) Apparition de la plume d’oiseau (et l’encre )

En occident la Première mention (écrite) de l’utilisation des plumes d’oiseaux taillées pour écrire sur des parchemins date du IV siècle. Avant l’encre était déposé à l’aide de de calames

Visualiser la vidéo la plume d'oiseau taillée (Extrait de C’est pas sorcier L’écriture de A à Z )

Le papier , Invention chinoise du début du premier millénaire, fait son apparition en occident vers le XIII éme siècle.

Pour en savoir plus : : dossier de la bnf : Les supports de l’écrit ….

Différentes manières de tailler une plume

Le penne de la plume ( c'est à dire le bout) était durcie par chauffage puis taillée de façon à retenir une goutte d'encre.


La plume était trempé dans un encrier pour absorber l’encre par Capillarité

vidéo : phénomène de capillarité

vidéo : explication de C'est pas sorcier

(Extrait de C’est pas sorcier L’écriture de A à Z )


Ainsi :

Le principe de fonctionnement : L'encre retenue par capillarité au bout de la plume se déposait sur le papier par absorption….


L’écrivain Diderot avec sa plume



La plume offre des avantages

  • Un avantage par rapport au calame ,plus Souple et plus maniable ( pour écrire plus petit)

  • Matière première facile a trouver (construire un plume)

Mais inconvénient de la plume

  • Problèmes d’encombrement et de maniabilité : Nécessitait la plume et l’encrier rempli.

  • Problèmes d’autonomie : La plume devait être trempée très souvent dans l'encrier.

  • Problèmes de durabilité : Le grattage sur le papier et l’usage de l’encre d’alors usait la pointe qui devait être souvent retaillée.


III) Les innovations dans le principe de l’écriture à la plume.


Pour palier à ces inconvénients différentes tentatives eurent lieu ....


A) Comment a t-on répondu au : Problème de durabilité ? apparition des plumes en métal

On travailla sur le matériau de la plume.


On tenta de remplacer le penne de la plume par différentes matières plus résistantes, tout en conservant le principe de la pointe taillée trempée dans l'encre

Diverses tentatives eurent lieu; pointe en corne, en écaille de tortue...


Il fallut attendre le milieu du XIXème siècle et la révolution industrielle pour que l'utilisation de plume en métal soit devenu courante en Angleterre puis dans toute l'Europe. ,

La plume en métal est fixée à l'extrémité d'un porte-plume.



 

La forme de la plume varie suivant le style d'écriture souhaitée (anglaise, cursive, ronde, bâtarde, gothique...).


La plume sergent major créée en 1881 et utilisée à l’école jusqu’en 1965

Visualiser la vidéo la plume en métal (Extrait de C’est pas sorcier L’écriture de A à Z )




B) Comment a t-on répondu aux Problèmes d'autonomie et d'encombrement ? adjonction d'un réservoir

On tenta d'adjoindre un réservoir à la plume

Il est fait mention de tentatives dans l'encyclopédie de D'Alembert et Diderot (plume perpétuelle)

- On trouve paraît-il dans le Codex Atlantica de Léonard de Vinci des schéma représentant un tube réservoir terminé par un pointe pouvant servir à l'écriture.

- On a gardé la trace d'une tentative datant de 1702 et effectuée pour le roi de France par Nicolas Bion.


Le roumain Petrache Poenaru dépose un brevet le 25 mai 1827 à Paris pour un stylo plume avec un réservoir à pompe. : "Une plume sans fin, portative, s'alimentant d'encre d'elle-même",

Brevet de Petrache Poenaru

Timbre à l’effigie de l’inventeur

Les problèmes

Le principal problème portait sur l'écoulement de l'encre.

L'encre devait être suffisamment fluide pour qu'une goutte puisse se déposer sur la pointe de la plume , mais sans que cet écoulement ne soit trop intense.

La difficulté d'un tel « réglage » fut à l'origine des nombreuses mésaventures des utilisateurs de stylos plumes.


Il a fallut attendre l'innovation de Lewis Edson Waterman, en 1884 pour que les premiers stylos à réservoir deviennent réellement efficaces et fiables.



La solution de L.E. WATERMAN :




La petite histoire :

L.E. Waterman était un agent d'assurance. Au moment de signer un contrat important, son stylo plume réservoir laissa un grosse tache sur la feuille. La signature fut remise à plus tard...et un concurrent remporta l'affaire....

L.E Waterman se pencha sur le problème pour éviter de nouvelles mésaventures.

Il réussit, à trouver une solution et déposa un brevet le 12 février 1884.

image du brevet 1884


La solution.pour éviter un écoulement trop rapide

cliquer sur l’image

Des petits canaux capillaires

L.E Waterman eut l'idée d'utiliser la loi physique de la capillarité.

Qui fait qu’un liquide s'écoule beaucoup moins vite s'il traverse un ensemble de petit canaux plutôt qu'un seul. …il a créé des petites aspérités capillaires...



Visualiser la vidéo les principes du "régular" (Extrait de C’est pas sorcier L’écriture de A à Z )


- Les ventes du « régular » de L.E. Waterman éepassèrent ses espérances.

les campagnes de publicité. Permirent à l'entreprise de se développer rapidement…


publicité

catalogue waterman

Photographies de la première usine Waterman

Après un déclin dans les années 50 - dû, entre autre, à l'apparition de concurrents dynamiques Waterman USA dépose le bilan aux états unis

La filiale Waterman France sera rachetée successivement par différents groupes et deviendra Waterman SA En 1971. ( spécialisée dans le stylo de luxe)


Visualiser la vidéo « fabrication de la plume d’un stylo plume moderne" (Extrait de C’est pas sorcier L’écriture de A à Z )

Visualiser la vidéo « les tests avant distribution » (Extrait de C’est pas sorcier L’écriture de A à Z )


La fonction technique : remplissage

- Differents systèmes de remplissage, furent essayés.


En 1891 que l'entreprise Eagle Pencil Corporation (USA) propose les premières cartouches d’encre, qui est actuellement la solution la plus utilisée.





Publicité pour des cartouches en verre




IV) Une Invention : Un autre principe de fonctionnement : Le stylo bille

En 1888, John J. Loud, un américain du Massachusetts, fait breveter son « style » pour écrire sur des surfaces rugueuses.


« Mon invention consiste en un réservoir ou stylo-plume amélioré, particulièrement utile, entre autres, pour marquer sur des surfaces rugueuses telles que le bois, le papier d'emballage grossier et d'autres articles où un stylo ordinaire ne pourrait pas être utilisé »

( Wikipédia)


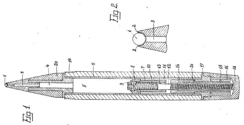
C’est Un piston , commandé par une vis, assure le contact entre la bille et l'encre

principe de fonctionnement du stylo à bille ( cliquez sur l’image)

Le sbrevet de J.J. Loud

Visualiser la vidéo : principe du stylo bille (Extrait de C’est pas sorcier L’écriture de A à Z )

La petite histoire :

Une légende dit que l'inventeur trouva l'idée du stylo bille en observant des enfants jouer aux billes prés d' un caniveau.

La trace humide laissée par la bille lui inspira l'idée..

(Dans le film suivant cet événement est attribué aux frères Biro...)

Des avantages :

  • permet d’écrire sur des surfaces rugueuses contrairement au principe de la plume..

Des inconvénients :

  • L’encre en séchant peut bloque le roulement de la bille..

  • Des blancs apparaissent lors de l'écriture.

  • Au contraire l’écoulement est quelques fois trop rapide provoquant des tâches…

Très peu utilisé




la tenue de la bille et les canaux capillaires

(extrait du Brevet des frères Biro)

En 1938 : Les frères Biro, immigrés hongrois (Dont l'un était chimiste) perfectionnent le système, en créant une encre plus adaptée, ce qui améliore l’efficacité du stylo bille. Ils déposent un Brevet à Paris en 1938



plan du stylo extrait du Brevet des frères Biro



Visualiser la vidéo : invention du stylo bille

(Extrait de Le Bic Cristal, l'histoire du célèbre stylo (Arte France, Lapsus, Le Centre Pompidou, 2004)

Le premier stylographe à bille, copie de celui des Biro, fut vendu en octobre 1945 à New York par Reynold’s.

(10000 exemplaires vendus en 1 jour à 12,50 $ chaque )


Le stylo à bille apportait des solutions à quelques problèmes du stylo à plume :


  • Le stylo plume fonctionne en utilisant la loi de la pesanteur pour que le liquide tombe sur la pointe de la plume. Ce n'est plus le cas avec le stylo bille. En particulier il est possible d'écrire avec un stylo bille en le tenant horizontalement. (Il fut d'une grande utilité pour les aviateurs par exemple).

  • De plus

    • L'encre résistait à l’eau. contrairement à celle des stylos plumes.

    • L’encre pouvait être plus dense ce qui permettait une plus grande autonomie et surtout limitait les écoulement irréguliers.


mais présentait des inconvénients

  • Mais il était encore assez cher, de par sa complexité.

  • la sphéricité de la bille devait être parfaite, ce qui n’était pas toujours le cas


Aussi mis à part son utilisation dans des cas bien particuliers, le stylo à bille reste encore à l’état de « gadget », et l'écriture à la plume à toujours la faveur de la plupart des utilisateurs.



Une révolution (en France) : apparition du stylo BIC


1949

Le Baron Bich comprend l’importance du principe du stylo bille... Il rachète le brevet des frères Biro et crée sa marque en utilisant son propre nom.


Son objectif est de réussir à créer, à moindre coût un stylo bille qui pourrait efficacement remplacer le stylo plume..

Les recherches portent surtout sur :

  • la formule d’encre

  • l’ajustage entre la bille et le tube-réservoir

a partir de 1950

« Le Bic Cristal » apparaît et Bic vend 200 000 stylos par jour. ….

dessin du premier « bic » : Brevet

publicités 1951

(mediabic.bic.com)

Quelques dates

1951 : Une gigantesque campagne. Spots radio, films pour le cinéma et, surtout, affiche de Savignac : " Elle court, elle court, la pointe Bic " fait connaître son produit en France

près de 21 millions de stylos Bic sont écoulés en France et 3,5 millions en Belgique

En 1953 : C’est le produit le plus vendu en France….

1958 : Le Bic Cristal débarque aux Etats-Unis. ….

1960 : Une grande campagne de BIC auprès des écoliers : ( buvards publicitaires) « force » le ministère de l'éducation à l'autoriser à l'école en 1965. (voir paragraphe consacré)

Le site de l’entreprise BIC : : https://corporate.bic.com/fr-fr/groupe/notre-histoire


buvard publicitaire

il s'en est ainsi écoulé plus de 100 000 milliards sur les 5 continents entre son apparition et l’année 2010... (source bic)

des "chiffres" sur planetscope


Les raisons d'un tel succès ?

Visualiser la vidéo : le stylo bic "cristal" (Extrait de Le Bic Cristal (collection design - Arte France, Lapsus, Le Centre Pompidou, 2004)

Son design :

Le corps est hexagonal et transparent (cela permet de voir le niveau d'encre). Il fait 15 centimètres de long et 8 millimètres de diamètre, comme le crayon mine.

Visualiser la vidéo : Design - ergonomie du Bic (Extrait de Le Bic Cristal (collection design - Arte France, Lapsus, Le Centre Pompidou, 2004)


Des solutions techniques « simples » à mettre en œuvre:


Le contact entre l'encre et la bille est assurée par une solution plus économique que celle des premier stylos à bille : Dans le corps, un petit trou permet à l’air de rentrer et de combler le vide laissé par l’encre.

La micro-bille, en acier, est réalisée avec une nouvelle technique (tours d'horlogerie suisses capables de travailler au centième de millimètre )

le corps et capuchon en plastique

Son coût :

Au cours du temps l’entreprise BIC crée des filiales contrôler de l’ensemble du processus de fabrication ce qui lui d’atteindre un prix de revient très bas

Tout cela en fait un produit utile a moins de 50 centimes à l'époque.




M. Bich visite une partie des installations (mediabic.bic.com)

Il eut par la suite des innovations au bic cristal

au niveau technique

  • en 1961 la bille en acier est remplacée par une bille en carbure de tungstène

au niveau du design

  • en 1991 : Le capuchon est troué pour des raisons de sécurité

  • en 2000 le culot est collé, à la demande de l'éducation pour éviter son recyclage en « sarbacane »

  • Mais son principe de fonctionnement et son allure caractéristique n’ont pas bougés depuis son apparition



Quelque vidéos montrant les processus de fabrications (actuelles)

https://corporate.bic.com/fr-fr/groupe/notre-histoire

vidéo : la fabrication d'un bic (Extrait de Le Bic Cristal (collection design - Arte France, Lapsus, Le Centre Pompidou, 2004)

Vidéo : Les secret de Fabrication du stylo bic (Explore média)

Vidéo : Fabrication du stylo BIC® Cristal® ( Bic)

D'autres raisons sont évoquées par les utilisateurs :

  • Par ce qu'il est transformable en sarbacane. (source écolier)

  • Parce qu'il est « machouillable »




Impact du Bic : Inaugure L’ère du jetable : stylo bic




Mais respect de l’environnement





  • En 2024, BIC a lancé le modèle Cristal Re’New™, un stylo rechargeable en métal.







Impact du Bic (dans la vie scolaire) : Changement de l’écriture

Au tout début, tout bon écolier , apprenait à tailler sa plume en plus de la calligraphie.  



Au début du vingtième siècle, l’éducation gratuite accentua le développement des plumes en métal, dites « sergent major ». Les écoliers purent ne se consacrer qu’aux techniques d’écriture.



taille de la plume

( Encyclopédie de de Diderot & D’alembert)

a l’école on apprenait à maîtriser les pleins et les déliés



En particulier la maîtrise des pleins et les déliés, étaient gages d’une belle écriture. Cela perdura jusqu'en 1965…


plume sergent major

En 1960 la grande campagne de BIC auprès des écoliers : ( buvards publicitaires) lance la polémique.

Vidéo : "viré" pour avoir utliliser un stylo bille à l'école ( Document INA )






Les professionnels utilisent de plus en plus les stylos à plume ou à bille plutôt que le porte plume. Aussi il fut question de remplacer le porte plume et l'encrier, encore utilisé à l'école par ces instruments plus maniables.

Il y eut beaucoup de réticence de la part du ministère de l’enseignement, car cela entraînait la perte de l'écriture classique avec les « pleins et les déliés ».


Et ce fut finalement en 1965 que les stylographes furent autorisés à l'école.

« Circulaire No 65-338 du 3 septembre 1965 sur l’apprentissage de l’écriture : « Il convient de constater que, de nos jours, on utilise couramment une écriture cursive qui ne nécessite à aucun moment une pression différenciée de la main. Les traits ont une largeur uniforme et sont tracés d’un mouvement continu. Il n’y a donc pas lieu d’interdire les instruments à réservoir d’encre, ni même les crayons à bille qui procurent des avantages de commodité pratique, à condition qu’ils soient bien choisis, et qu’ils permettent sans effort excessif des doigts, du poignet et de l’avant-bras, d’obtenir progressivement une écriture liée, régulière et assez rapide. Les maîtres veilleront toutefois au bon emploi de ces divers types d’instruments et feront apprendre les graphies correspondant à leur bon usage. »


Depuis, plus personne n'écrit en utilisant la calligraphie telle qu'elle fut enseignée durant plus de 15 siècles.

Vidéo : Un petit reportage de 2013 (TF1)

La circulaire

Vidéo : Le stylo bic supplante le stylo plume ( France 2 – de la « Rentrée 2010 »)





Autres principes de fonctionnement : le feutre

Le stylo feutre, fut inventé en 1960 au Japon (instrument plus adapté au modes d'écriture asiatique).

Il fut commercialisé dés 1963 par la société Pentel.( les marqueurs). La pointe était en acrylique.

Depuis de nombreuses innovations, ont lieu ( feutre à bille, pointe en céramique...)

En 1971, par exemple marque l'apprition des stylo feutre à encre fluorescente de la marque stabilo



Quelques adresses externes :

Les sources :

Video : histoire du stylo bille : (histoire des technique) (reprise d’un documentaire sur le stylo)

Video : C’est pas sorcier L’écriture de A à Z ) (C’est pas sorcier)

Video : Le Bic Cristal, l'histoire du célèbre stylo (Arte France, Lapsus, Le Centre Pompidou, 2004)



Vidéo : Histoire du stylo ( Arte Family)

Vidéo : Qui a inventé le stylo à bille ? (Question d’Histoire)

Vidéo : Les secret de Fabrication du stylo bic (Explore média)

Vidéo : Fabrication du stylo BIC® Cristal® ( Bic)


Site de la Bibliothèque Nationale de France les essentiels

http://www.fountainpen.it/Accueil_principal



vidéo : Les support de l’écrit:( Dossier BNF)